Многоплунжерный, бесклапанный, объёмный насос
На сегодняшний день в нефтедобывающей отрасли возникли серьёзные проблемы с разработкой разведанных запасов. В связи с выработкой легких фракций нефти, из существующих скважин и всё более глубоким залеганием разрабатываемых пластов, появилась категория запасов, которые относят к трудноизвлекаемым. По оценке Государственной комиссии по запасам полезных ископаемых, общий объём трудноизвлекаемых запасов нефти в России (далее ТРИЗ) на начало 2023 года составлял 16,5 млрд. тонн и к 2030 году, по прогнозам первого заместителя министра энергетики Павла Сорокина, доля ТРИЗов в российских запасах может достичь 80%.
Основная причина отнесения запасов к категории ТрИЗ — несоответствие существующих технологий геологическим особенностям пласта, что делает разработку экономически неэффективной.
Основные проблемы с извлечением трудноизвлекаемых запасов нефти (ТрИЗ) можно сгруппировать по ключевым геологическим и технологическим факторам.
- Высоковязкая нефть (более 100 сПз):
- низкая подвижность в пласте;
- сложности подъёма на поверхность и транспортировки;
- необходимость дорогостоящих технологий (закачка горячей воды/пара, электрические обогреватели, винтовые насосы).
- Низкопроницаемые коллекторы (менее 4 мД):
- нарушение закона Дарси, нелинейная фильтрация;
- потребность в начальном градиенте сдвига для начала фильтрации;
- требование специальных технологий (например, горизонтальные скважины с многозональным ГРП).
- Подгазовые зоны и нефтяные оторочки:
- неконтролируемые прорывы газа к нефтяным скважинам;
- разгазирование нефти при незначительном снижении пластового давления (большое выделение растворенных в пластовых жидкостях газов, что приводит к невозможности осуществлять перекачку таких нефтей центробежными насосными агрегатами);

Решить Указанные проблемы и должен запатентованный инновационный, бесклапанный насос объёмного типа. Изобретение относится к насосостроению, точнее к области гидравлических насосов объёмного вытеснения, в частности к погружным, бесштанговым, многоплунжерным насосам, предназначенным для подъёма тяжелых, высоковязких сред со значительными механическими примесями с больших глубин, так называемых трудноизвлекаемых запасов нефти.
Целью изобретения является повысить надежность работы погружного насоса, повысить его энергоэффективность и увеличить межремонтные сроки при работе предлагаемого насоса.
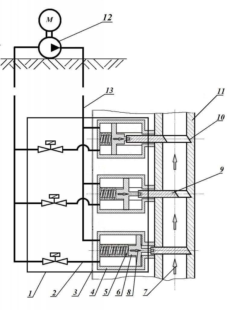
Цель достигается путем отказа от цилиндров, клапанов и упрощения конструкции погружного, объёмного насоса. Решение указанной технической задачи обеспечивается тем, что рабочие цилиндры объёмного насоса меняются на более простые по конструкции, следовательно и более надежные в работе — плунжера. В корпусе из стали устанавливается не менее трёх, но оптимальнее, для сокращения объёмных потерь в насосе – пяти плунжеров, отличающихся тем, что конфигурация кромок позволяет самоочищаться посадочным местам плунжеров от налипания механических примесей из перекачиваемого продукта, в процессе работы. Кроме того, привод плунжеров гидравлический от центробежного насоса, установленного на поверхности, что позволяет использовать насос небольшой мощности, поскольку необходимое давление в гидравлической системе создаётся за счет геометрической высоты положения насоса. Порядок работы – опускание и подъём плунжеров регулируется по специальной программе, заложенной в блок управления плунжерного насоса, который одновременно с этим служит распределителем электроэнергии, поступающей с поверхности, по соленоидам, открывающим и закрывающим гидравлические золотники – распределители непосредственно на каждом плунжере. Возврат в исходное положение плунжера (открытое) осуществляется возвратной пружиной.

Многоплунжерный, бесклапанный, объёмный насос состоит из стального, прочного корпуса 11 в котором выполнены прорези с посадочными пазами10 для плунжеров 9. Плунжера с приводами в виде соленоидов, объединены в блок плунжеров и заключены в облегчённый, технологический корпус 3, на котором закреплен блок управления 1. Питание к блоку управления 1 подаётся с поверхности по электрической линии 12. Далее в блоке питания импульс электроэнергии распределяется между соленоидами по проводам 2, в порядке, согласно порядку работы плунжеров насосного агрегата. При поступлении импульса на обмотку 6 соленоида, сердечник 7 из ферромагнитного сплава, внутри корпуса 4 втягивается в обмотку 6 соленоида в направлении, указанном стрелкой 8 и полностью перекрывает проходное сечение многоплунжерного, бесклапанного, объёмного насоса, двигаясь по пазам 10. В исходное (открытое) положение плунжер возвращает возвратная пружина 5.
Предлагаемый многоплунжерный, бесклапанный объёмный насос работает следующим образом. Перед началом работы этот насос необходимо полностью заполнить перекачиваемым продуктом, или предлагаемый объёмный насос должен быть опущен в перекачиваемую среду таким образом, чтобы во всасывающем патрубке создавался подпор (давление выше атмосферного) поскольку предлагаемый многоплунжерный, бесклапанный объёмный насос не самовсасывающий, не имеет клапанов, а все плунжера в нормальном положении открытые.
С началом работы подается импульс электрической энергии на первый, самый нижний соленоид – привод первого плунжера. Как только проходное сечение насоса перекрыто, импульс электроэнергии подается на следующий, расположенный выше плунжер. При этом нижний плунжер остается закрытым до момента полного перекрытия проходного сечения насоса следующим, расположенном выше, плунжером. В момент перекрытия проходного сечения насоса средним плунжером, нижний плунжер открывается под действием возвратной пружины, поскольку импульс электроэнергии с обмотки его соленоида снимается, а на обмотку расположенного ещё выше, третьего соленоида – привода третьего плунжера, подаётся напряжение и этот плунжер начинает закрываться. При этом, в момент перекрытия проходного сечения насоса самым верхним – третьим плунжером, начинает открываться средний плунжер, а самый нижний начинает закрываться под действием импульса электроэнергии, который подается на обмотку соленоида привода этого, самого нижнего плунжера. И далее процесс работы плунжеров повторяется в указанном порядке.
