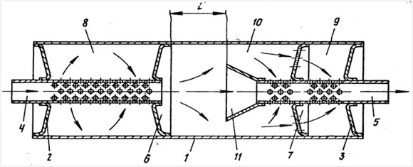
Аэродинамический глушитель выхлопа мотоцикла, повышающий  мощность двигателя